Ilustración técnica y delineación en Madrid

Ilustración técnica y dibujos para diseños registrados y patentes

En New Skin Design, nuestros dibujantes altamente cualificados se especializan en la entrega de ilustraciones técnicas precisas con un enfoque en la protección de la Propiedad Intelectual (figuras para Solicitudes de Patentes, Modelos de Utilidad y Diseños Registrados/Patentes de Diseño), Manuales de Usuario y CAD. Además de con empresas y particulares, actualmente trabajamos con Agentes Europeos de Patentes y Marcas en el Reino Unido y España.

Nuestra experiencia garantiza el cumplimiento de las normas europeas e internacionales, incluidas las de la EUIPO y la OEP. Tanto si necesita planos detallados, instrucciones de montaje claras o dibujos formales para la protección de productos, nuestras ilustraciones de alta calidad le ayudarán a asegurar sus ideas y mejorar la comprensión de los usuarios.

También ofrecemos servicios de diseño de productos e impresión 3D.

Nuestro trabajo de dibujo técnico

Dibujos de diseño registrado de móvil para niños

Dibujos de diseño registrado

Móvil para niños

Dibujos de diseño registrado de teléfono público

Dibujos de diseño registrado

Teléfono público

Dibujos de diseño registrado de UAV

Dibujos de diseño registrado

UAV

dibujo lineal del dispositivo de motor

Dibujos de diseño registrado

Dispositivo de motor

dibujos lineales de bicicleta

Dibujos de diseño registrado

Bicicleta

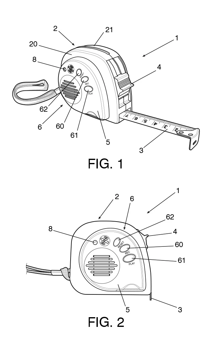
Dibujo de patente de cinta métrica

Dibujos de patente

Cinta métrica

Dibujos de patente de triciclo

Dibujos de patente

Triciclo

Instrucciones de uso para contenedor de residuos

Instrucciones de uso

Contenedor de residuos médicos

Dibujos de patente de cisterna

Dibujos de patente

Cisterna

Instrucciones de uso del retinoscopio

Instrucciones de uso

Retinoscopio

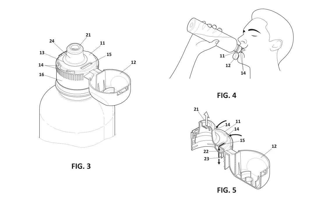
Dibujos de patente del tapón

Dibujos de patente

Tapón

Instrucciones de uso del difusor de aroma

Instrucciones de uso

Difusor de aroma

Dibujos formales para la protección de la propiedad intelectual (patentes, modelos de utilidad y diseños registrados)

Proteja su idea frente al robo de propiedad intelectual preparando dibujos formales en los formatos requeridos para su solicitud ante los organismos pertinentes, tanto dentro de la Unión Europea (EUIPO, Oficina Europea de Patentes) como a escala internacional.

¿Por qué recurrir a un servicio de delineación profesional para sus dibujos de patentes y diseños industriales?

Instrucciones del producto y guías de usuario

Las instrucciones con dibujos lineales son una forma eficaz de guiar visualmente al usuario. Pueden ilustrar cómo utilizar correctamente un producto o cómo montar un mueble en el orden correcto.

Dibujos de ingeniería y CAD

Los planos técnicos o dibujos de ingeniería pueden prepararse a partir del material proporcionado por el cliente o mediante nuestro proceso de diseño de productos y 3D.

blue polygon background

Solicite su presupuesto gratuito hoy mismo

Háblenos de su proyecto y de los servicios de diseño que necesita. Nos pondremos en contacto con usted con más información y un presupuesto.

Póngase en contacto